• Наличие
    В наличии
Цена по запросу

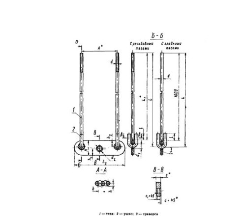
Тяги с траверсой предназначены для надежного подвешивания и фиксации трубопроводов различного назначения в промышленном и гражданском строительстве. Они являются ключевым элементом систем опор, обеспечивая стабильность и безопасность эксплуатации труб.

Конструкция изделий позволяет равномерно распределять механические нагрузки, предотвращая деформацию и провисание труб. Это повышает срок службы всей трубопроводной системы и минимизирует риски аварийных ситуаций.

Изготавливаются из высокопрочных марок стали (09Г2С, 12Х18Н10Т, сталь 20, сталь 3 и др.), что гарантирует стойкость к коррозии и высоким нагрузкам. Доступны с разным допустимым напряжением: от 4,5 кН до 150 кН.

Мы предлагаем широкий выбор типоразмеров под различные задачи: диаметры от 12 до 36 мм и массой от 2,5 до 46,7 кг. Возможна поставка под заказ.

Отзывов: 0

Нет отзывов об этом товаре.

Вопросов: 0

Пока нет вопросов об этом товаре. Станьте первым!